Bartmann Total Solutions in Steel Buildings


Kategorie/Typ Artikelnummer Bezeichnung
C-Traufen parallelgeneigt
Lippen stegparallel (senkrecht)
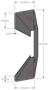
2820 TpgLs20-240-70-54x2dn10

Drucken/PDF l Produktübersicht l Startseite


Anfrage / Bestellformular
Anfrage / Bestellung
TpgLs20-240-70-54x2dn10 (Artikelnummer 2820)

Firma (*Pflichtfeld)


Strasse, Hausnummer


PLZ, Ort, Land


Ansprechpartner


Telefon


E-Mail (*Pflichtfeld)


Homepage


BV / Projekt / Ihr Zeichen

Auftrag liegt bereits vor Auftrag liegt noch nicht vor

Laufende Meter


Längenanzahl


Maximale Profillänge


Minimale Profillänge


Lochdurchmesser (Keine Angabe = Ungelocht)


Material


Oberfläche
Sendzimirverzinkt Unbehandelt /roh
Pulverbeschichtung RAL-Farben
Andere Oberfläche

Lieferadresse


Liefertermin


Bemerkung / Nachricht an BTSSB


BTSSB Bartmann Total Solutions in Steel Buildings
Casa Mondiale - CH-6745 Giornico / TI - Switzerland
Tel. 0041-(0)91 864 2230 - FAX 0041-(0)91 864 2235
E-Mail: info@pfetten.com - URL: www.pfetten.com

Impressum l AGB l Datenschutzerklärung l Copyright© BTSSB All rights reserved